欢迎光临 【 无锡市英福特热能装备有限公司 】 官方网站!
咨询热线:13706185529


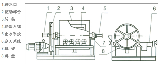
| ※ 性能水平高 | ※ 无级变速,转鼓转速可调 |
| ※ 设有侧刮刀,避免转鼓侧端积料 | ※ 转鼓精度高 |
| ※ 设备结构紧凑,占地面积小 | ※ 适应范围广,操作简便、灵活 |
| ※ 半管夹套式料盘,安全可靠 | ※ 采用多组刮刀,调节灵活 |
| ※ 喷淋水冷却,冷却效果好 | ※ 多功能,既可结片又可干燥 |
|
转鼓规格 mm |
电机功率 KW |
切片转速 r/min 变频控制 |
参考外形尺寸mm | ||
| L | W | H | |||
| 500×500 | 2.2 | 2-12 | 1500 | 600 | 1000 |
| 600×600 | 2.2 | 2-12 | 1600 | 700 | 1200 |
| 700×700 | 2.2-3 | 2-12 | 1700 | 800 | 1400 |
| 800×800 | 3-4 | 2-12 | 1800 | 900 | 1450 |
| 900×900 | 3-4 | 2-12 | 2000 | 1000 | 1550 |
| 1000×1000 | 4-5.5 | 2-12 | 2200 | 1100 | 1700 |
| 1200×1200 | 4-5.5 | 2-12 | 2400 | 1300 | 1900 |
| 1200×1500 | 5.5-7.5 | 2-12 | 2800 | 1300 | 1900 |
| 1500×1500 | 5.5-7.5 | 2-12 | 2800 | 1600 | 2100 |
| 1500×1800 | 7.5-11 | 2-12 | 3100 | 1600 | 2100 |
| 1500×2000 | 7.5-11 | 2-12 | 3300 | 1600 | 2100 |
| 2000×2000 | 11-15KW | 2-12 | 3300 | 2100 | 2500 |
| 1500×3000 | 11-15KW | 2-12 | 4800 | 1600 | 2200 |
| 2000×3000 | 15-21KW | 2-12 | 4800 | 2100 | 2500 |